Multifaster Mobil 2X3/8 Bsp 1/2 , 250Bar i gruppen Hydraulikk / Hydraulikk / Hurtigkoblinger hos Sagroparts (2PB06212GMC)
Video

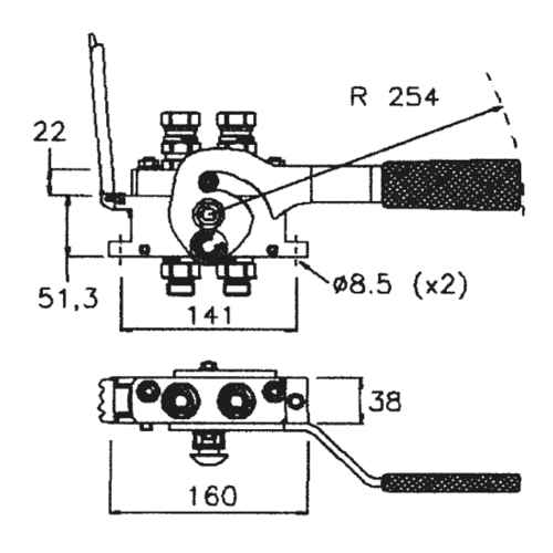
Multifaster Mobil 2X3/8 Bsp 1/2 , 250Bar

4031 NOK
inkl. mva
3–6 arbeidsdagers levering Sporing fra Sverige med PostNord Fast tollkostnad 95 NOK + mvaIngen skjulte avgifter i etterkant
 
Legg i handlekurven
Lägg i kundvagnen

bet alt
  • Info
  • Lagerstatus
    Artikkelnummer2PB06212GMC
    ProdusentFASTER
    Egenskaper
    - PB06 Multifaster 
    - koble to-ledningsomkobling samtidig 
    - rask og enkel å koble til 
    - tilkoblingsrørene vil forbli i riktig rekkefølge 
    - ingen blødning kobler inn/ut 
    - sikkerhetssperre 
    - fremme rengjøring av støvbeskyttelsesplasser på kroppen 
    - rening av kontakter lett 
    - er egnet for bruk til eksempel. tilbehør for landbruksmaskiner, veiholdningskjøretøy, skogsmaskiner, jordflyttingsmaskiner 
    - gjengestørrelse 3/8 " 
    - gjenge BSPP 1/2" innvendig gjenge 
    - en flow på 40 l/min 
    - arbeidstrykk på 250 bar 
    - 1000 bar bristetrykk
  • I produktgrupper
  • Hurtigkoblinger
  • Vurderinger

Andre kjøpte også:

Logg inn
Choose country