Trykkstang Tapp Med Kjede 130X25 i gruppen Maskin- og traktortilbehør / 3-punkts deler / Redskapsbolter hos Sagroparts (T0486)
Video

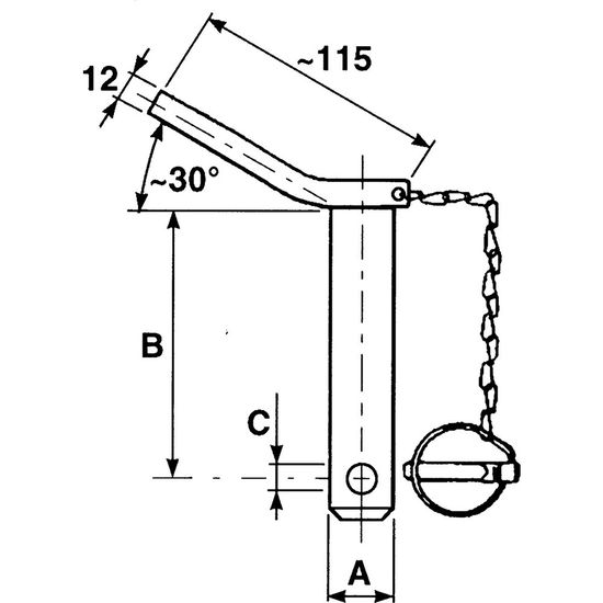
Trykkstang Tapp Med Kjede 130X25

173 NOK
inkl. mva
1–3 arbeidsdagers levering Sporing fra Sverige med PostNord Fast tollavgift 95 NOK + mvaIngen avgifter etter levering
 
Legg i handlekurven
Lägg i kundvagnen

bet alt
  • Info
  • Lagerstatus
    ArtikkelnummerT0486
    ProdusentAGRILIFE
    Egenskaper
    - gulpassivert
    - håndtak for enklere montering, ringstift holdes alltid med
    - CAT: 2
    - A: 25,4
    - B: 130
    - C: 12
    - se målene i vedlagt bilde
  • I produktgrupper
  • Redskapsbolter
  • Vurderinger

Tilbehør og reservedeler

Andre kjøpte også:

Spiss for montering, inkluderer skrue for sikker festing.
54 NOK
inkl. skrue
Kjøp!
Info
Shims 31X60X1
68 NOK
Materiale: Stål
Kjøp!
Info
Logg inn
Choose country