Drivstoffgiver Mf 1613684M92 i gruppen Reservedeler / Reservedeler til traktor / Massey Ferguson hos Sagroparts (MF0092)
Video

Drivstoffgiver Mf 1613684M92

1450 NOK
inkl. mva
3–6 arbeidsdagers levering Sporing fra Sverige med PostNord Fast tollkostnad 95 NOK + mvaIngen skjulte avgifter i etterkant
 
Legg i handlekurven
Lägg i kundvagnen

bet alt
  • Info
  • Lagerstatus
    ArtikkelnummerMF0092
    Produsent
    Egenskaper
    Drivstoffmåler som passer Massey Ferguson modeller.

    Teknisk spesifikasjon:
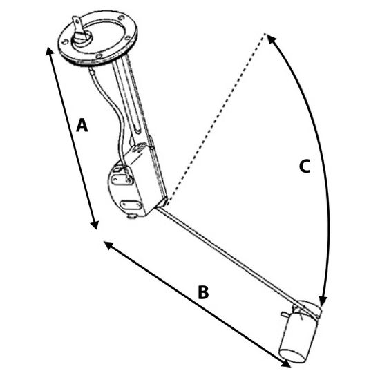
    (Se bilde nr2 for spesifikke mål nedenfor)
    - A 165 mm
    - B 320 mm
    - C 410 mm
  • Passer til
  • Massey Ferguson 565
  • I produktgrupper
  • Massey Ferguson
  • OEM-nummer
  • MF 1613684M92
  • Vurderinger

Andre kjøpte også:

Drivstoffilter 3885315 for overlegen skittskille.
SALG
104 NOK 123 NOK
Kjøp!
Info
Oljefilter modell 836479591, sikrer renere olje for traktorer og utstyr.
SALG
150 NOK 176 NOK
Kjøp!
Info
Kvalitetsstartmotor for M127, Ny Ford 2000-7710, enkel installasjon og pålitelighet.
3819 NOK
Type: M50G / M127
Montering: Høyreside
Kjøp!
Info
Logg inn
Choose country