Pinne Løftearms Krysselement 86X16
100 NOK
inkl. mva
1–3 arbeidsdagers levering
Sporing fra Sverige med PostNord Fast tollkostnad 95 NOK + mvaIngen skjulte avgifter i etterkant
- Info
-
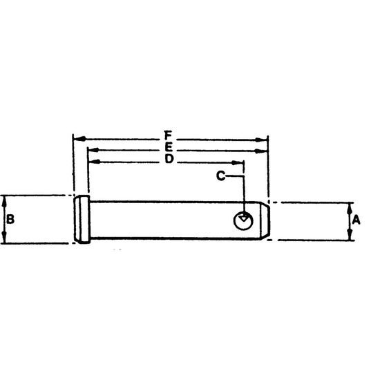
LagerstatusArtikkelnummerV1036ProdusentAGRILIFEEgenskaperMål (mm):
- A: 16
- B: 21
- C: 5
- D: 76
- E: 82
- F: 86
Bilder:
- nr 6 og 11 i den 1. sprengskissen
- nr 7 og 13 i den 2. sprengskissen
- nr 4 og 9 i den 3. sprengskissen - Passer til
-
Ford Dexta
Ford Major
Ford Power Major
Ford Super Dexta
Ford Super Major
Massey Ferguson 135
Massey Ferguson 148
Massey Ferguson 240
Massey Ferguson 35
Massey Ferguson 35X
Massey Ferguson 65
Massey Ferguson 765
Massey Ferguson TE20
Massey Ferguson TEA20
Massey Ferguson TED20
Massey Ferguson TEF20
- I produktgrupper
-
Ford
Massey Ferguson
Redskapsbolter
- OEM-nummer
-
MF 180860M1
- Vurderinger
-